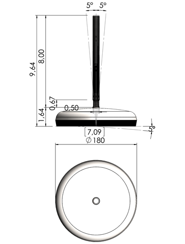
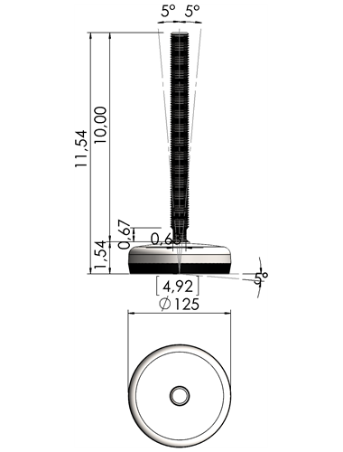
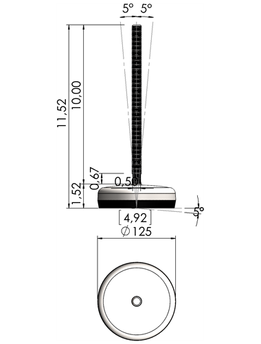
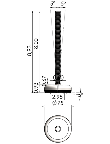
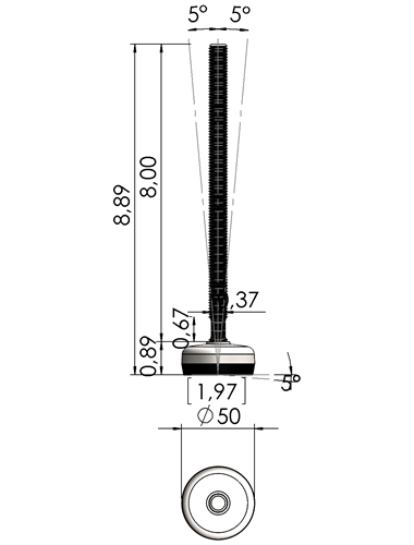
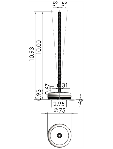
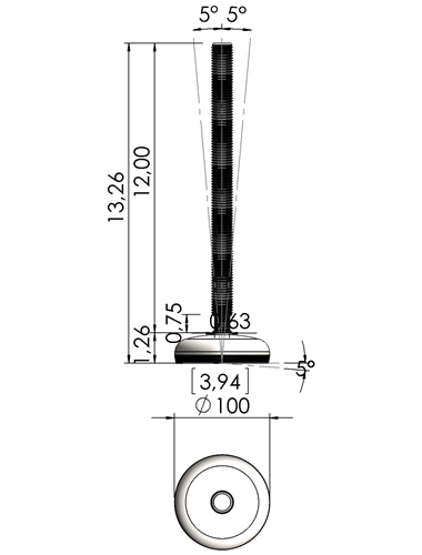
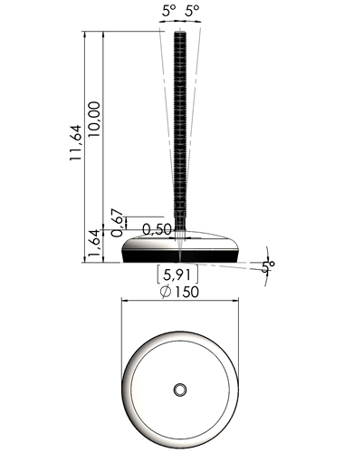
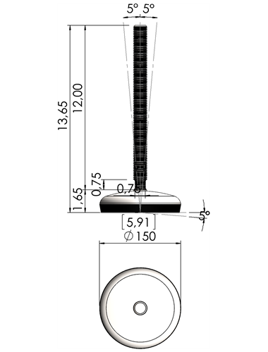
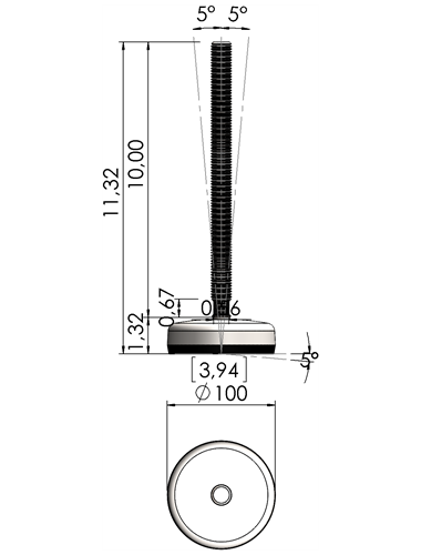
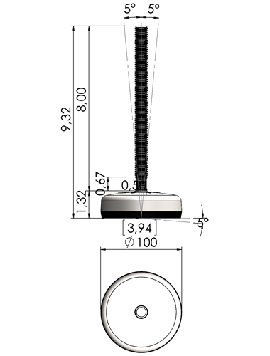
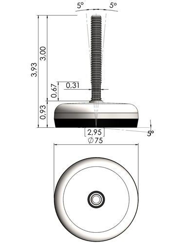
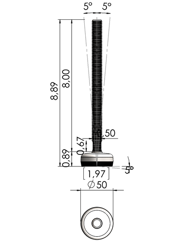
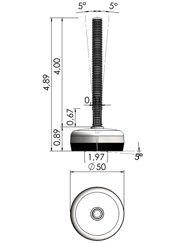
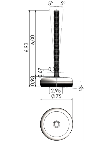
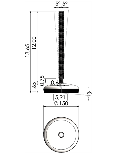
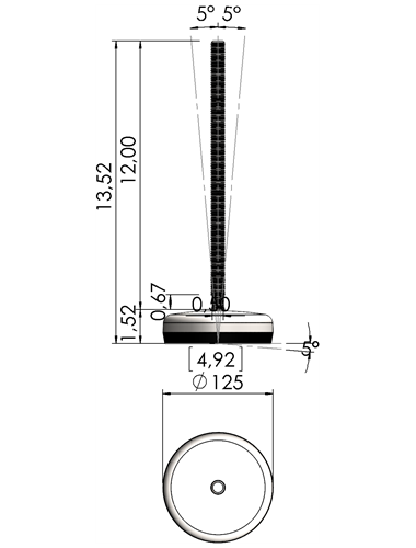
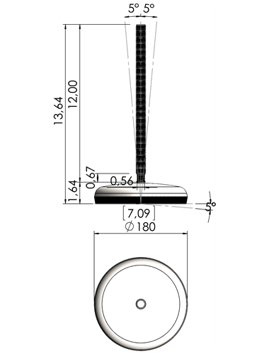
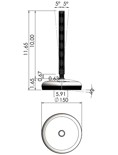
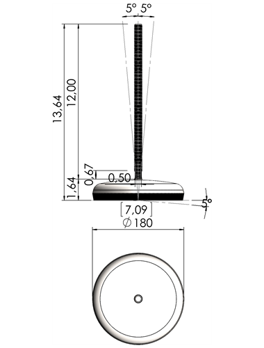
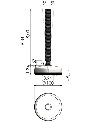
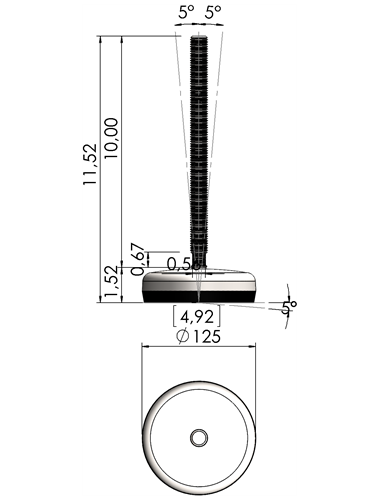
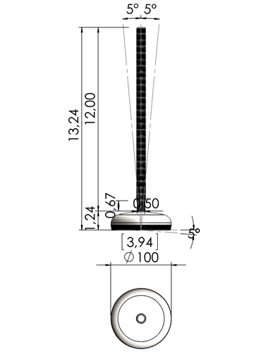
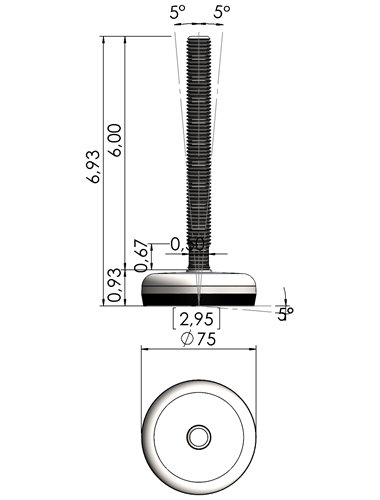
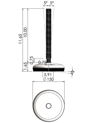
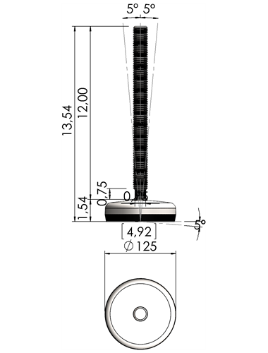
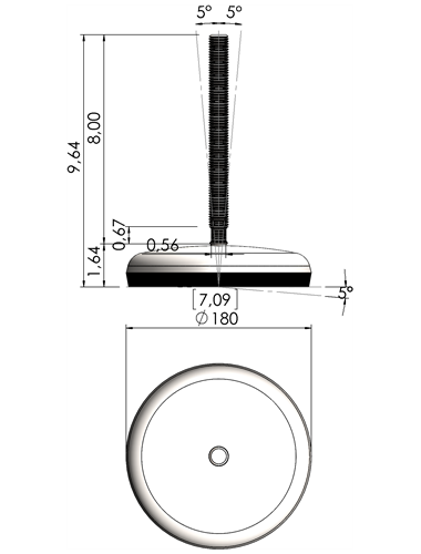
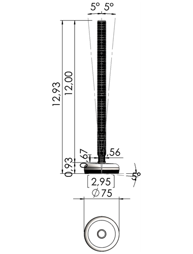
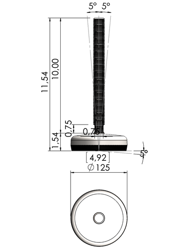
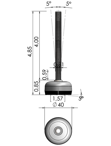
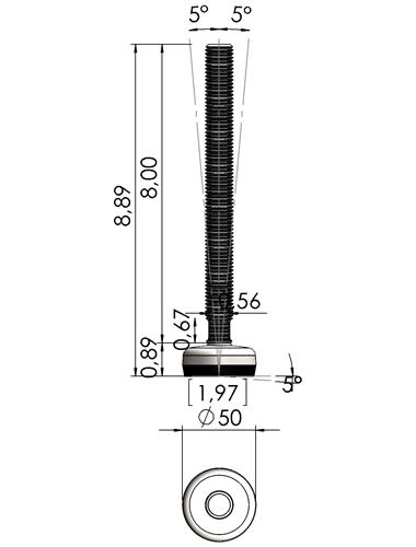
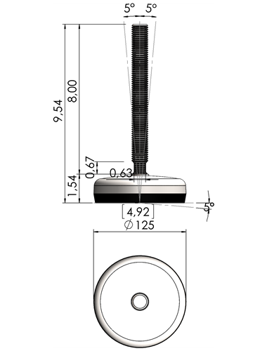
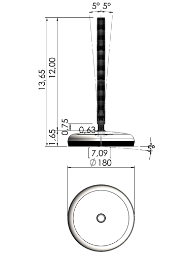
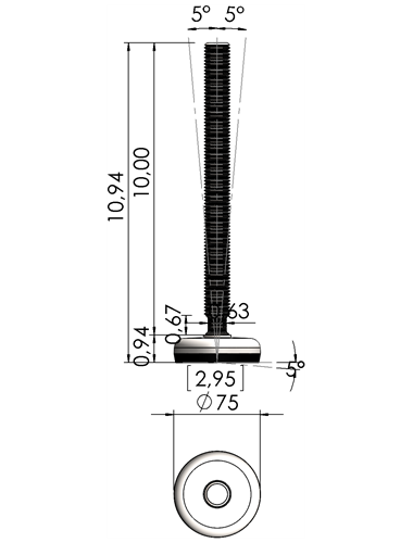
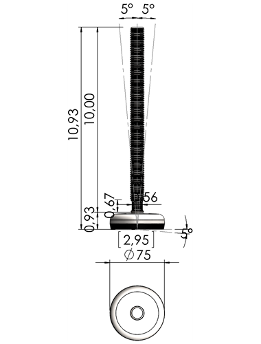
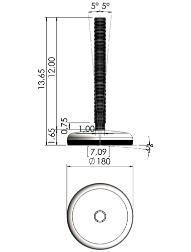
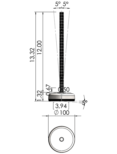
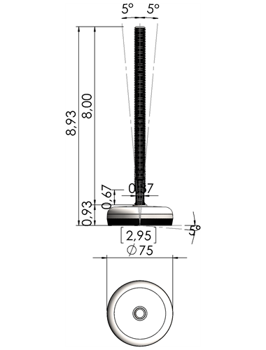
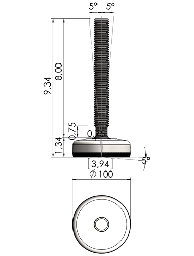
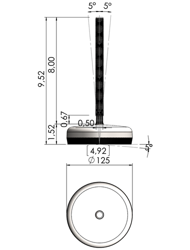
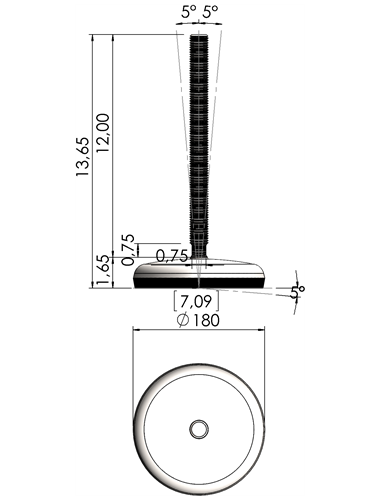
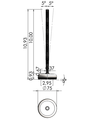
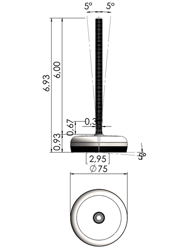
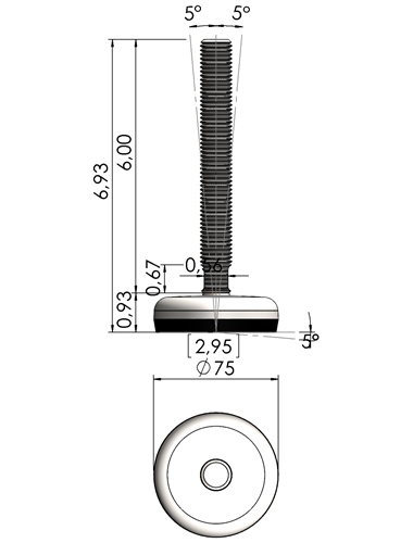
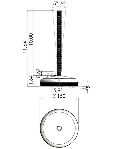
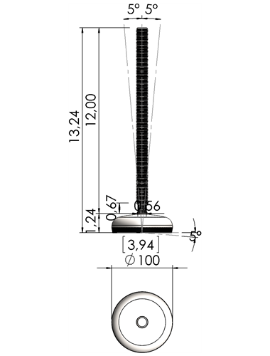
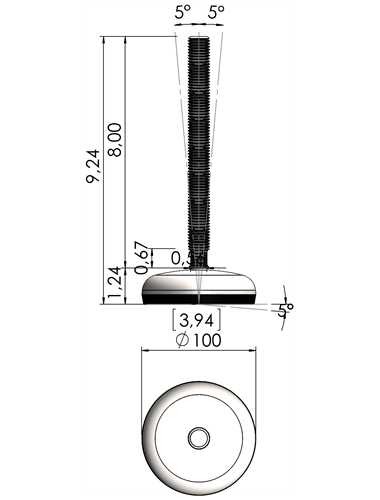
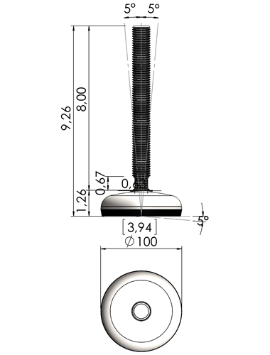
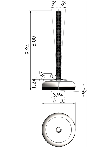
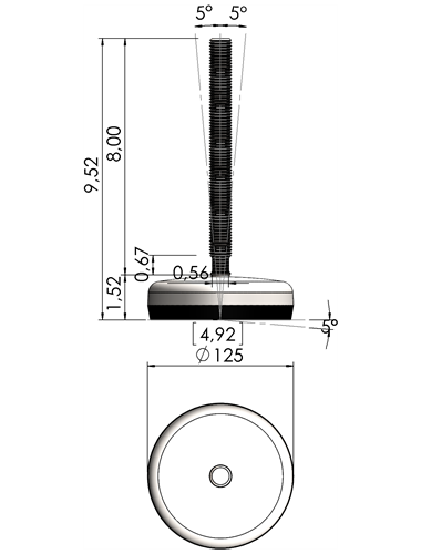
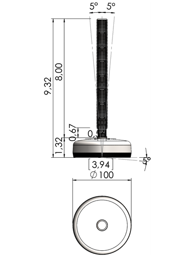
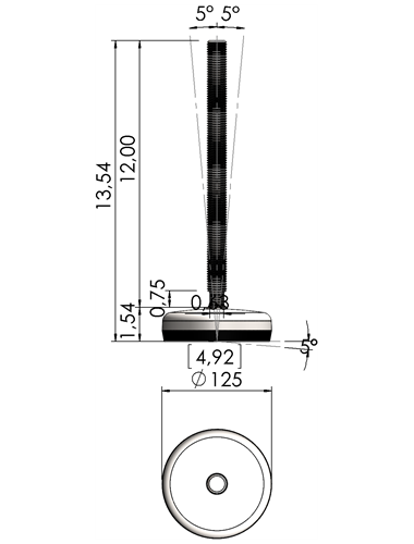
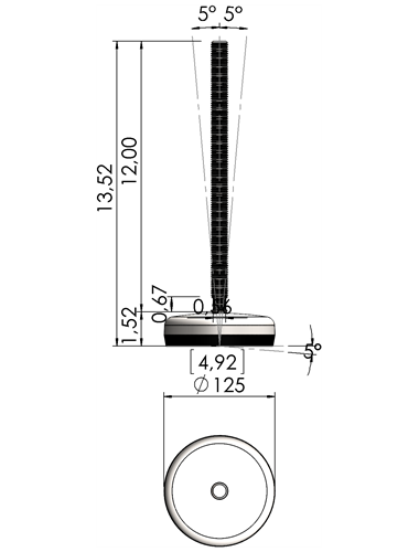
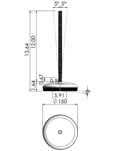
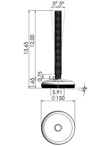
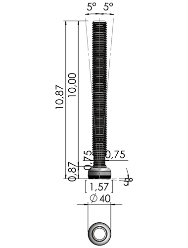
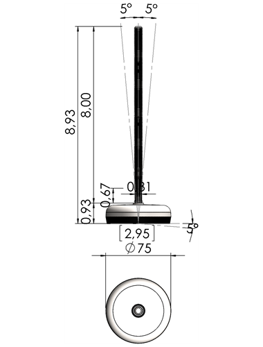
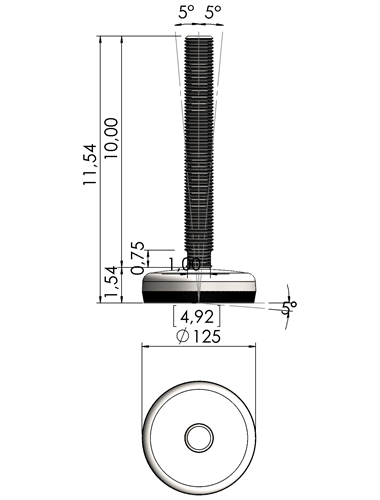
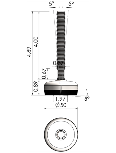
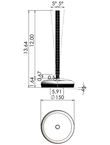
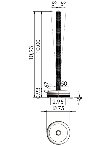
Type M is available in a wide and flexible selection of dimensions. It is FDA-approved and the design eases the cleaning process. This model is available in a wide range to optimize choice. The vulcanized rubber conforms with FDA standard guidelines for rubber products concerning the food-industry. Smoothly rounded design for ease of cleaning. Admits up to 5° slopes on floors and equipment. M40, M50, M75, M100, M105, M125, M150, M180.
